Ajuste la posición de plegado para [Plegado puerta] en la Unidad de plegado FD-503. Realice este ajuste cuando la posición de plegado se desvíe del valor estándar.
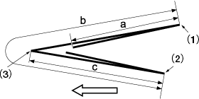
Confirme los siguientes valores estándar en el paso 5.
Tamaño de papel | Valor estándar a | Valor estándar b | Valor estándar c |
|---|---|---|---|
[A3w] | 103,5 mm | 213,0 mm | 106,5 mm |
[B4w] | 89,5 mm | 185,0 mm | 92,5 mm |
[SRA4w] | 78,5 mm | 163,0 mm | 81,5 mm |
[A4w] | 72,8 mm | 151,5 mm | 75,8 mm |
[12e18w] | 112,8 mm | 231,6 mm | 115,8 mm |
[11e17w] | 106,5 mm | 218,9 mm | 109,5 mm |
[8.5e14w] | 87,4 mm | 180,8 mm | 90,4 mm |
[8.5e11w] | 68,4 mm | 142,7 mm | 71,4 mm |
[8Kw] | 96,0 mm | 198,0 mm | 99,0 mm |


[Escan. separado] se ajusta automáticamente a [Plegado puerta].
Se imprime una muestra.

Valor estándar: a, b = -1,5 mm a +1,5 mm o menos
(1) [Pliegue 1], (2) [Pliegue 2], (3) [Pliegue 3]


Utilice [+ / -] para seleccionar el signo positivo o negativo del valor numérico. Para cambiar [Datos actuales], pulse [Definir].
[Rango aj.:-50~+50 1fase = 0,1mm]


Utilice [+ / -] para seleccionar el signo positivo o negativo del valor numérico. Para cambiar [Datos actuales], pulse [Definir].
[Rango aj.:-50~+50 1fase = 0,1mm]


Utilice [+ / -] para seleccionar el signo positivo o negativo del valor numérico. Para cambiar [Datos actuales], pulse [Definir].
[Rango aj.:-50~+50 1fase = 0,1mm]
