Ajuste la posición de plegado para [Paralelo doble] en la Unidad de plegado FD-503. Realice este ajuste cuando la posición de plegado se desvíe del valor estándar.
Confirme los siguientes valores estándar en el paso 5.
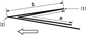
Tamaño de papel | Valor estándar a | Valor estándar b |
|---|---|---|
[A3w] | 208,5 mm | 103,8 mm |
[B4w] | 180,5 mm | 89,8 mm |
[SRA4w] | 158,5 mm | 78,7 mm |
[A4w] | 147,0 mm | 73,0 mm |
[12e18w] | 227,1 mm | 113,1 mm |
[11e17w] | 214,4 mm | 106,7 mm |
[8.5e14w] | 176,3 mm | 87,7 mm |
[8.5e11w] | 138,2 mm | 68,6 mm |
[8Kw] | 193,5 mm | 96,3 mm |


[Escan. separado] se ajusta automáticamente a [Paralelo doble].
Se imprime una muestra.

Valor estándar: a, b = -1,5 mm a +1,5 mm o menos
(1) [Pliegue 1], (2) [Pliegue 2]


Utilice [+ / -] para seleccionar el signo positivo o negativo del valor numérico. Para cambiar [Datos actuales], pulse [Definir].
[Rango aj.:-50~+50 1fase = 0,1mm]


Utilice [+ / -] para seleccionar el signo positivo o negativo del valor numérico. Para cambiar [Datos actuales], pulse [Definir].
[Rango aj.:-50~+50 1fase = 0,1mm]
