È possibile regolare la direzione della profondità delle posizioni di foratura per eliminare il disallineamento tra la posizione di foratura e il centro del foglio forato.
Quale esempio questa sezione spiega come regolare la posizione di foratura utilizzando il Finisher FS-532 dotato del Kit di Foratura PK-522 in caso di un disallineamento verso l'alto (indietro) di 1,5 mm dal centro della carta.
• Significato e scopo della regolazione della posizione verticale foratura
Quando la posizione di foratura è disallineata dal centro della carta, questa funzione consente di spostare la posizione di foratura in avanti o indietro specificando il valore desiderato.
I valori negativi spostano la posizione di foratura in avanti (verso il basso).
I valori positivi spostano la posizione di foratura indietro (verso l'alto).
• Quando eseguire
Quando il centro della posizione di foratura e il centro della carta sono disallineati
• Ambiente previsto
Controller immagine | Controller immagine IC-604 |
Finisher montato | Finisher FS-532 dotato del Kit di Foratura PK-522 |
* La schermata di esempio può differire dalla schermata effettiva a seconda dell'ambiente di sistema.
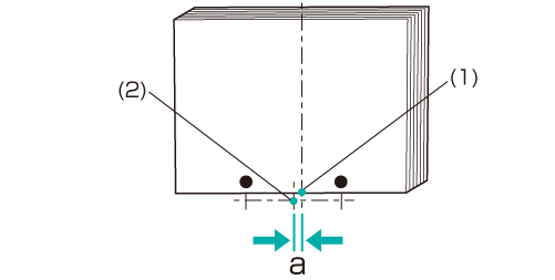
Misurare l'allineamento corrente "a" della posizione del foro con un righello.
spiegazione aggiuntivaMisurare la differenza tra la posizione centrale della carta (1) e la posizione del centro della foratura (2) (= Larghezza "a").

Nel pannello a sfioramento del corpo principale, premere Regolazione nella schermata MACCHINA.
Premere Regolazione Finisher nella schermata Menu Regolazione.
Premere Reg.fin.pinz. nel menu Regolazione Finisher.
Premere Regol.finisher pinz.(forat.) nel menu Reg.fin.pinz.
Premere Regol. pos. verticale (CD) nella Regol.finisher pinz.(forat.).
Premere il formato della carta da regolare. Inserire il valore di regolazione e premere Imp.
Esempio: spostare la posizione di foratura per Offset tutti i form. (tutti i formati carta) verso il basso (in avanti) di 1,5 mm.
Elemento | Impostazione |
|---|---|
Offset tutti i form. | Spostamento di 1,5 mm verso il basso (in avanti) (-15)
|

spiegazione aggiuntivaPremere il tastierino numerico sullo schermo per impostare il valore.
spiegazione aggiuntivaUsare + / - per impostare il valore su positivo o negativo.
spiegazione aggiuntivaI valori sono in incrementi di 0,1 mm (1 = 0,1 mm)
spiegazione aggiuntivaPremendo Modo stampa si passa alla modalità di stampa, che consente di stampare l'originale.
Stampare nuovamente l'originale e verificare la posizione centrale della foratura per accertare il disallineamento.
Ripetere i punti di cui sopra fino a ottenere la posizione centrale della foratura desiderata.
