
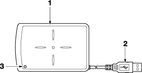
N. | Nome | Descrizione |
|---|---|---|
1 | Zona di lettura scheda | Legge la scheda IC utilizzata per la registrazione o l'autenticazione. |
2 | Cavo USB | Collegarlo alla porta USB del corpo principale. |
3 | LED stato | Giallo verde: la macchina funziona normalmente Arancione: la comunicazione non è disponibile Rosso: problema alla macchina |
L'Unità di autenticazione AU-201S è un dispositivo opzionale. Il marketing e l'autorizzazione a usare questo prodotto sono forniti su una base "così com'è".
Decliniamo ogni responsabilità per danni (comprese le perdite di profitto o altri danni correlati) causati da questo prodotto o il suo utilizzo a causa di operazioni non descritte in questo manuale d'uso.
Questo prodotto è progetto, fabbricato e destinato all'uso commerciale generale. Non usarlo per applicazioni che richiedono elevata affidabilità, le quali possono avere un impatto estremo sulla vita delle persone e i beni.
Applicazioni che richiedono un'elevata affidabilità: gestione degli stabilimenti chimici, gestione delle apparecchiature medicali, gestione delle comunicazioni di emergenza, ecc.
L'uso con altre periferiche di autenticazione non è garantito.
Al fine di includere i miglioramenti, le specifiche sul prodotto sono soggette a modifiche senza preavviso.
Non conservare la scheda IC entro 40 mm / 1,57" dalla zona di scansione della scheda.