
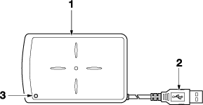
N.º | Nombre | Descripción |
|---|---|---|
1 | Zona lectura tarjetas | Lee la tarjeta IC colocada para el registro o la autenticación. |
2 | Cable USB | Conectado al puerto USB de la unidad principal. |
3 | LED indicador de estado | Verde amarillo: la máquina funciona de forma normal Naranja: la comunicación no está disponible Rojo: avería en la máquina |
La unidad de autenticación AU-201S es un dispositivo opcional. La comercialización y autorización para utilizar este producto se proporcionan íntegramente "tal cual".
No se asume ninguna responsabilidad por daño alguno (incluidos el lucro cesante y otros daños relacionados) derivados de este producto o su uso como resultado de las operaciones que no se describen en el presente manual del operador.
El diseño, la fabricación y el propósito de este producto satisfacen un uso comercial general. No lo utilice para aplicaciones que requieran elevada fiabilidad y que puedan afectar seriamente a vidas y a propiedades.
Aplicaciones que requieren elevada fiabilidad: gestión de plantas químicas, gestión de equipamiento médico, gestión de comunicaciones de emergencia, etc.
No se garantiza su uso con otros dispositivos de autenticación.
Con el fin de mejorar el producto, sus especificaciones se pueden modificar sin necesidad de previo aviso.
Guarde la tarjeta IC a una distancia superior a 40 mm del área de escaneado de la tarjeta.