Puede ajustar la dirección de profundidad de las posiciones de perforación para eliminar la desalineación respecto al centro de las impresiones perforadas.
A modo de ejemplo, en esta sección se explica cómo se ajusta la posición de perforación utilizando la unidad de acabado FS-532 con el kit de perforación PK-522 instalado cuando está desalineado hacia arriba (hacia atrás) 1,5 mm respecto al centro del papel.
Significado y finalidad del ajuste de posición de perforación vertical
Si la posición de perforación está desalineada respecto al centro del papel, esta función permite desplazar la posición de perforación hacia delante o hacia atrás indicando el valor deseado.
Valores -: mueven la posición de perforación hacia delante (hacia abajo).
Valores +: mueven la posición de perforación hacia atrás (hacia arriba).
Cuándo se debe realizar
Si el centro de la posición de perforación y el centro del papel no están alineados
Entorno previsto
Controlador de imagen | Controlador de imágenes integrado |
Unidad de acabado instalada | Unidad de acabado FS-532 con kit de perforación PK-522 instalado |
* La pantalla del ejemplo puede ser distinta de la real, ya que depende del entorno del sistema.
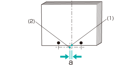
Mida la desalineación actual 'a' de la posición de los orificios de encuadernación con una regla.
explicación adicionalMida la diferencia entre la posición centro del papel (1) y la posición de perforación (2) (= ancho 'a').
En el panel táctil de la unidad principal, pulse Ajuste en la pantalla UN.PRINC.
Pulse Ajuste unidad de acabado en la pantalla Menú Ajuste.
Pulse Aj. unidad acabado grapas en el menú Ajuste unidad de acabado.
Pulse Aj. unidad acabado grapas (perf) en el menú Aj. unidad acabado grapas.
Pulse Ajuste posición vertical(CD) en Aj u/acabado con grap (perf). 
Pulse el tamaño del papel para ajustarlo. Introduzca el valor de ajuste y pulse Definir.
Ejemplo: desplace la posición de perforación de Offset tamaño compl. (todos los tamaños de papel)
hacia abajo (hacia delante) 1,5 mm.
Elemento | Configuración |
|---|---|
Offset tamaño compl. | Mover 1,5 mm hacia abajo (hacia delante) (-15)
|

explicación adicionalUtilice el teclado de la pantalla para introducir el valor.
explicación adicionalUse +/- para especificar que el valor sea positivo o negativo.
explicación adicionalLos incrementos de valor son de 0,1 mm. (1 = 0,1 mm)
explicación adicionalAl pulsar Modo impresión, se cambia al modo impresión para poder imprimir el original.
Vuelva a imprimir el original y compruebe si la posición del centro del orificio de perforación está desalineada.
Repita los pasos anteriores hasta obtener la posición del centro de perforación que desea.