
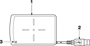
N.º | Nombre | Descripción |
|---|---|---|
1 | Zona lectura tarjetas | Acerque la tarjeta IC para registrarla o verificarla. |
2 | Cable USB | Conecte la máquina al puerto de conexión. |
3 | LED indicador de estado | Verde brillante: funcionamiento normal Naranja: comunicación USB no disponible Rojo: anomalía en el dispositivo |