Inicio >
COPIAR > [Config.salida] > [Pleg.Ygr.] > [(2)Corte lateral]
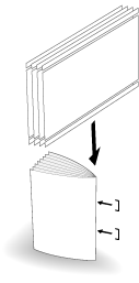
[(2)Corte lateral]
Descripción general
Permite configurar los ajustes para realizar un corte lateral en ambos bordes del papel plegado y grapado.
- Las hojas plegadas y grapadas se envían a la Bandeja de encuadernación. Configure la Bandeja de extensión de la bandeja de encuadernación como preparación y abra el Tope. De lo contrario, el papel de salida podría caerse de Bandeja de encuadernación. Además, la función de detección de carga completa podría dejar de funcionar.
- Si se utiliza papel fino que se ondule fácilmente para plegado y grapado, la salida de las impresiones debe ser de manera que el papel se ondule hacia el interior. Antes de imprimir un cuadernillo, imprima solo unas pocas hojas en la Bandeja secundaria y revise la dirección de la ondulación. Si el papel impreso está curvado hacia arriba, se curva hacia dentro cuando se crea un folleto.
Procedimiento de ajuste (ajuste de [(2)Corte lateral])
Permite especificar el [Corte lateral] y el [Offset resp.a port.].
1
Pulse [Activado] en [(2)Corte lateral].
Se visualiza la pantalla de configuración.
2
Seleccione [(1)] o [(2)] de [Corte lateral] y utilice el teclado en pantalla para introducir el valor del corte lateral.
Rango: de 8,0 mm a 26,0 mm
Si se pulsa [,]/[+] se aumenta o reduce el valor numérico en pasos de 0,1 mm.
Utilice [+ / -] para definir el signo positivo o negativo del valor numérico.
Si la diferencia de valor del corte lateral entre [(1)] y [(2)] es 10,0 mm o más, no se puede introducir el valor.
3
Seleccione [Offset resp.a port.] y utilice en teclado en pantalla para introducir el valor del corte lateral de la tripa para la portada.
Rango: de -1,0 mm a +1,0 mm
Esta función está disponible cuando está seleccionada la opción [Con portada] en [Folleto] de [Aplicación].
Si se pulsa [,]/[+] se aumenta o reduce el valor numérico en pasos de 0,1 mm.
Utilice [+ / -] para definir el signo positivo o negativo del valor numérico.