
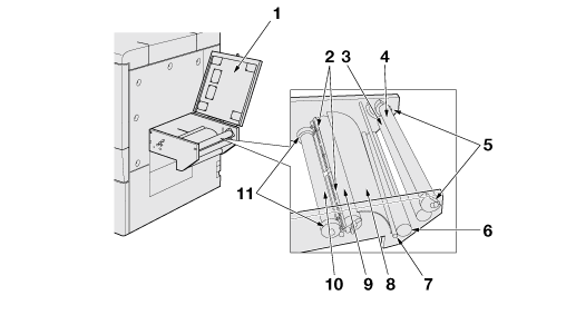
Nr. | Name | Beschreibung |
|---|---|---|
1 | Obere Abdeckung | Schützt den Einzugsbereich. Wird für Wartungsarbeiten geöffnet. |
2 | Schutzabdeckung | Schützt die Begrenzungsrolle. |
3 | Spannrolle 2 | Ändert die Position, um die Medienspannung anzupassen. |
4 | Spannrolle 1 | Transportiert das Medium. |
5 | Medienführung | Referenzposition für das Medium. |
6 | Spannrolle 3 | Transportiert das Medium. |
7 | Spannrolle 4 | Ändert die Position, um die Medienspannung anzupassen. |
8 | Führungsplatte | Stabilisiert den Medientransport. |
9 | Ausrichtrolle | Wechselt zwischen Drehung und fixer Position, um die Medienspannung anzupassen. Ändert die Ausrichtung, um die Position des Mediums anzupassen. |
10 | Begrenzungsrolle | Transportiert das Medium. |
11 | Begrenzungsführung | Referenzposition für das Medium. |