Wenn der Fehler weiterhin auftritt, führen Sie die folgenden Schritte durch:

Bevor Sie die Ausrichtrolle anpassen, führen Sie die folgenden Schritte durch: Ausführliche Informationen finden Sie Papier neigt sich zu einer Seite.
Medienspannung überprüfen
Position des Mediums und anderer Teile überprüfen
Klebstoffreste entfernen, die an den Teilen anhaften
Passen Sie die Position der Medienführung (Rückseite) der Spannrolle 1, die auf die Referenzposition (35 mm / 1,38" von der Metallfläche entfernt) eingestellt ist, so an, dass sie die Kante des Mediums nicht beschädigt.
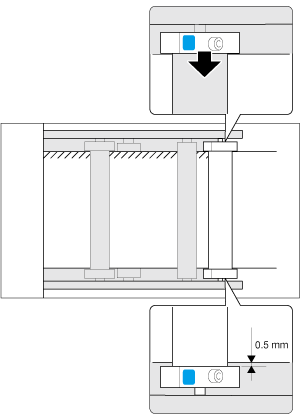
Wenn die Innenseite der Medien beschädigt oder eingerissen ist, schieben Sie die Rückseite der Medienführung etwas in Ihre Richtung. Bewegen Sie das Teil in Schritten von 0,5 mm / 0,02 ".

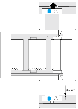
Wenn die Außenseite der Medien beschädigt oder eingerissen ist, schieben Sie die Rückseite der Medienführung etwas nach hinten. Bewegen Sie das Teil in Schritten von 0,5 mm / 0,02 ".

Die Medienführung (Vorderseite) der Spannrolle 1 sollte in einer Entfernung von 0,5 mm (±0,25 mm) / 0,02" (±0,01") von den Metallplatten der Einheit positioniert werden.
Wenn die Medien über einen Zeitraum von 20 Sekunden oder länger weiterhin eine der Medienführungen (Medienführungen der Spannrolle 1) berühren, wird das Verwindungsproblem gelöst. (Die folgende Abbildung zeigt ein Beispiel dafür, wie die Medien die Medienführung (Rückseite) leicht berühren. )

Wenn der Fehler weiterhin auftritt, gehen Sie zu Ausrichtrolle anpassen.