Pagina iniziale ConfigurazioneForatura multipla GP‑501

Foratura multipla GP‑501

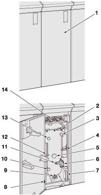
N.

Nome

Descrizione

1

Sportello anteriore unità di bucatura multipla

Si apre per consentire la sostituzione del gruppo dei punzoni, oppure la rimozione degli scarti di foratura o della carta inceppata.

2

Leva [GP1]

Aprirla verso l'alto per rimuovere la carta inceppata.

3

Manopola [GP1]

Si apre per consentire la rimozione della carta inceppata.

4

Leva [GP2]

Si può aprire in alto verso destra per rimuovere la carta inceppata.

5

Manopola [GP4]

Si può ruotare in senso orario per la sostituzione di un gruppo punzone, oppure per la rimozione della carta inceppata.

6

Gruppo punzoni

Buca diversi tipi di fori per l'archiviazione.

7

Scatola residui bucatura

Estrarre per la rimozione dei residui di carta della foratura.

8

Interruttore alimentazione

Accende/spegne la corrente della foratura multipla.

9

Leva [GP5]

Si apre verso il basso per rimuovere l'inceppamento carta.

10

Manopola [GP7]

Si apre per consentire la rimozione della carta inceppata.

11

Indicatore della posizione della lama di foratura del gruppo punzoni

Utilizzata per verificare la posizione della lama della filettatrice spostata ruotando la Manopola [GP4] per sostituire la filettatrice o rimuovere la carta rovinata.

12

Leva [GP6]

Si può aprire in alto verso sinistra per rimuovere la carta inceppata.

13

Manopola [GP8]

Si apre per consentire la rimozione della carta inceppata.

14

Guida del gruppo punzoni

Immagazzinato con i gruppi punzoni.