È possibile regolare la direzione della profondità delle posizioni di foratura per eliminare il disallineamento tra la posizione di foratura e il centro del foglio forato.
Quale esempio questa sezione spiega come regolare la posizione di foratura utilizzando il Finisher FS-532 dotato del Kit di Foratura PK-522 in caso di un disallineamento verso l'alto (indietro) di 1,5 mm dal centro della carta.
• Significato e scopo della regolazione della posizione verticale foratura
Quando la posizione di foratura è disallineata dal centro della carta, questa funzione consente di spostare la posizione di foratura in avanti o indietro specificando il valore desiderato.
I valori negativi spostano la posizione di foratura in avanti (verso il basso).
I valori positivi spostano la posizione di foratura indietro (verso l'alto).
• Quando eseguire
Quando il centro della posizione di foratura e il centro della carta sono disallineati
• Ambiente previsto
Controller immagine | Controller immagine IC-603 |
Finisher montato | Finisher FS-532 dotato del Kit di Foratura PK-522 |
* La schermata di esempio può differire dalla schermata effettiva a seconda dell'ambiente di sistema.
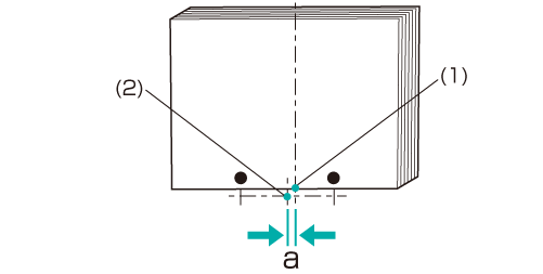
Misurare l'allineamento corrente "a" della posizione del foro con un righello.
Misurare la differenza tra la posizione centrale della carta (1) e la posizione del centro della foratura (2) (= Larghezza "a").
Nel pannello a sfioramento del corpo principale, premere [Regolazione] nella schermata [MACCHINA].
Premere [Regolazione Finisher] nella schermata [Menu Regolazione].
Premere [Reg.fin.pinz.] nel menu [Regolazione Finisher].
Premere [Regol.finisher pinz.(forat.)] nel menu [Reg.fin.pinz.].
Premere [Regol. pos. verticale (CD)] nella [Regol.finisher pinz.(forat.)].
Premere il formato della carta da regolare. Inserire il valore di regolazione e premere [Imp].
Esempio: spostare la posizione di foratura per [Offset tutti i form.] (tutti i formati carta) verso il basso (in avanti) di 1,5 mm.
Elemento | Impostazione |
|---|---|
[Offset tutti i form.] | Spostamento di 1,5 mm verso il basso (in avanti) (-15)
|

Premere il tastierino numerico sullo schermo per impostare il valore.
Usare [+ / -] per impostare il valore su positivo o negativo.
I valori sono in incrementi di 0,1 mm (1 = 0,1 mm)
Premendo [Modo stampa] si passa alla modalità di stampa, che consente di stampare l'originale.
Stampare nuovamente l'originale e verificare la posizione centrale della foratura per accertare il disallineamento.
Ripetere i punti di cui sopra fino a ottenere la posizione centrale della foratura desiderata.