Regolare le posizioni della piegatura nel modo Piega a Z determinate dall'Unità di piegatura FD‑503.
Oggetti di regolazione: Offset tutti i form., A3
, B4
, SRA4
, A4
, 12
18
, 11
17
, 8,5
14
, 8,5
11
, 8K
, Definito dall'utente (380 - 458 mm), Definito dall'utente (279 - 379 mm)

Quando si regola la Piega 1, la Piega 2 e la Piega 3, accertarsi di iniziare con la regolazione della Piega 1.

Se si specifica un valore numerico per [Offset tutti i form.], è applicato a tutti i formati carta. Con un formato carta specifico selezionato, il valore impostato diventa la somma del valore inserito e del valore specificato in precedenza per [Offset tutti i form.].
Premere [Regolazione] nella schermata [MACCHINA] per visualizzare la schermata [Menu Regolazione].
Premere in sequenza [Regolazione Finisher], [Regol. unità multipiega], [Reg pieg multipla (piega)], e [Reg posiz piega a libro].
Selezionare il formato da regolare usando [
] o [
]. 
Premere [Modo stampa].
Caricare la carta con il formato da regolare, quindi selezionare quel vassoio.
Premere Avvio sul pannello di controllo.
Verrà prodotto un modello campione.
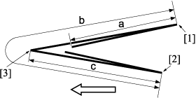
Misurare le lunghezze (a), (b) e (c) della carta stampata.
Intervallo consentito: a ± 1,5 mm, b ± 1,5 mm, c ± 1,5 mm
Formato carta | a | b | c |
|---|---|---|---|
A3 | 103,5 mm | 213,0 mm | 106,5 mm |
B4 | 89.5 mm | 185.0 mm | 92.5 mm |
SRA4 | 78,5 mm | 163,0 mm | 81,5 mm |
A4 | 72,8 mm | 151,5 mm | 75,8 mm |
12 | 112,8 mm | 231,6 mm | 115,8 mm |
11 | 106,5 mm | 218,9 mm | 109,5 mm |
8.5 | 87,4 mm | 180,8 mm | 90,4 mm |
8.5 | 68,4 mm | 142,7 mm | 71,4 mm |
8K | 96,0 mm | 198,0 mm | 99,0 mm |
[1] Piega 1 [2] Piega 2 [3] Piega
Se occorre una regolazione, premere [Uscita Stampa] per tornare alla schermata [Regolazione posizione battente].
Selezionare [Piega 1], quindi usare il tastierino del pannello a sfioramento per inserire il valore specificato.
Usare [+ / -] per impostare il valore su positivo o negativo.
Premere [Imp] per modificare il valore corrente.
Intervallo di regolazione: ([Piega 1]): da -50 ([Per avvicinare]) a +50 ([Per allontanare]) (1 passo = 0,1 mm)
Selezionare [Piega 2], quindi usare il tastierino del pannello a sfioramento per inserire il valore specificato.
Usare [+ / -] per impostare il valore su positivo o negativo.
Premere [Imp] per modificare il valore corrente.
Intervallo di regolazione: ([Piega 2]): da -50 ([Per allontanare]) a +50 ([Per avvicinare]) (1 passo = 0,1 mm)
Selezionare [Piega 3], quindi usare il tastierino del pannello a sfioramento per inserire il valore specificato.
Usare [+ / -] per impostare il valore su positivo o negativo.
Premere [Imp] per modificare il valore corrente.
Intervallo di regolazione: ([Piega 3]): da -50 ([Per avvicinare]) a +50 ([Per allontanare]) (1 passo = 0,1 mm)
Ripetere i punti da 4 a 11 fino a ottenere il risultato desiderato.
Premere [Riportare].
La schermata torna alla schermata [Regolazione piegatrice multipla (piega)].