Regolare le posizioni della piegatura nel modo Doppio parallelo determinate dall'Unità di piegatura FD‑503.
Oggetti di regolazione: Offset tutti i form., A3
, B4
, SRA4
, A4
, 12
18
, 11
17
, 8,5
14
, 8,5
11
, 8K
, Definito dall'utente (380 - 458 mm), Definito dall'utente (279 - 379 mm)

Quando si regola la Piega 1 e la Piega 2, accertarsi di iniziare con la regolazione della Piega 1.

Se si specifica un valore numerico per [Offset tutti i form.], è applicato a tutti i formati carta. Con un formato carta specifico selezionato, il valore impostato diventa la somma del valore inserito e del valore specificato in precedenza per [Offset tutti i form.].
Premere [Regolazione] nella schermata [MACCHINA] per visualizzare la schermata [Menu Regolazione].
Premere in sequenza [Regolazione Finisher], [Regol. unità multipiega], [Reg pieg multipla (piega)], e [Reg pos doppio parallelo].
Selezionare il formato da regolare usando [
] o [
].
Premere [Modo stampa].
Caricare la carta con il formato da regolare, quindi selezionare quel vassoio.
Premere Avvio sul pannello di controllo.
Verrà prodotto un modello campione.
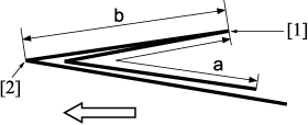
Misurare le lunghezze (a) e (b) della carta stampata.
Intervallo consentito: a ± 1,5 mm, b ± 1,5 mm
Formato carta | a | b |
|---|---|---|
A3 | 208,5 mm | 103,8 mm |
B4 | 180.5 mm | 89.8 mm |
SRA4 | 158,5 mm | 78,7 mm |
A4 | 147,0 mm | 73,0 mm |
12 | 227,1 mm | 113,1 mm |
11 | 214,4 mm | 106,7 mm |
8.5 | 176,3 mm | 87,7 mm |
8.5 | 138,2 mm | 68,6 mm |
8K | 193,5 mm | 96,3 mm |
[1] Piega 1 [2] Piega 2
Se occorre una regolazione, premere [Uscita Stampa] per tornare alla schermata [Regol posizione doppio parallelo].
Selezionare [Piega 1], quindi usare il tastierino del pannello a sfioramento per inserire il valore specificato.
Usare [+ / -] per impostare il valore su positivo o negativo.
Premere [Imp] per modificare il valore corrente.
Intervallo di regolazione: da -50 ([Per avvicinare]) a +50 ([Per allontanare]) (1 passo = 0,1 mm)

Selezionare [Piega 2], quindi usare il tastierino del pannello a sfioramento per inserire il valore specificato.
Usare [+ / -] per impostare il valore su positivo o negativo.
Premere [Imp] per modificare il valore corrente.
Intervallo di regolazione: da -50 ([Per avvicinare]) a +50 ([Per allontanare]) (1 passo = 0,1 mm)

Ripetere i punti da 4 a 10 fino a ottenere il risultato desiderato.
Premere [Riportare].
La schermata torna alla schermata [Regolazione piegatrice multipla (piega)].